|
|||||||||||||||||||||||||||||||||||||||||||
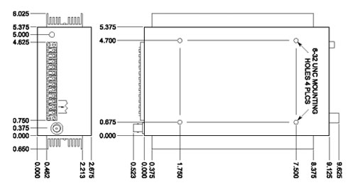
MODEL 1617 |
FEATURES |
||||||||||||||||||||||||||||||||||||||||||
![]() |
Triple output high voltage power supply: 18.4 to 22.5 kV, 3.0 to 5.5 kV, 270 to 330 V
|
||||||||||||||||||||||||||||||||||||||||||
|
DESCRIPTION
The Model 1617 is a Cathode Ray Tube (CRT) high voltage power supply with three output voltages: 20 kV, 5 kV, and 300 V. It features low output ripple and tight line and load regulation. SPECIFICATIONS
PRICES
|
||||||||||||||||||||||||||||||||||||||||||
| CPS | 7313 SW Tech Center Drive | Tigard, OR 97223 | 503.684.8026 | f: 503.684.8164 | E-mail us | |||||||||||||||||||||||||||||||||||||||||||


